产品类型:外置式位移传感器
安装方式:外置安装, 固定夹片(M5x20螺钉)
可选接口:模拟量;脉冲信号
检测长度:25mm~1250mm
工作温度:- 40℃~+85℃
工作电压:24VDC (-15/+20%), 超压保护, 反极性保护
防护等级:IP65(有防水要求须定制)
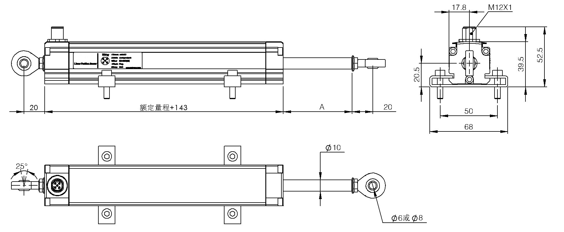
ER系列双耳环推拉杆式磁致伸缩位移传感器,采用非接触的磁致伸缩测量原理,产品全寿命无磨损,测量精度始终如一。
ER系列产品采用推拉杆+双耳环关节轴承结构,推拉杆直径达10mm,可承受较大的外力;末端均配有耳环式关节轴承,极大地增强了产品对安装误差的容错能力。
双耳环推拉杆
连接图